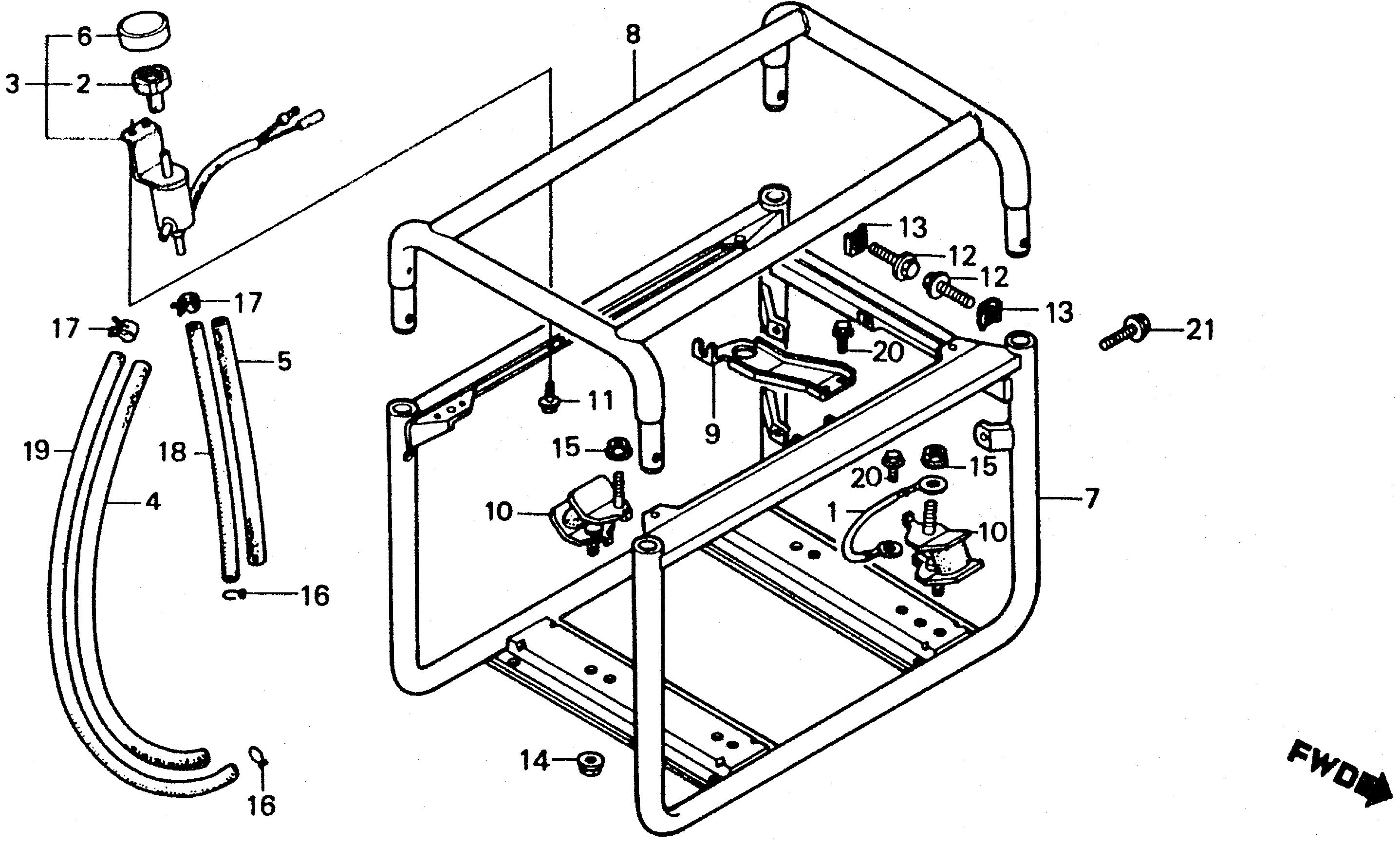
Ref No
Part Number
Description
Serial Range
Qty
Price
Ref No 1
Part Number 32610-899-000
Description CABLE, GROUND
Serial Range 1000001 - 9999999
Qty
Price $14.32
Add To Cart
Ref No 2
Part Number 36138-PA0-004
Description FILTER ASSY., SOLENOID VALVE
Serial Range 1000001 - 9999999
Ref No 3
Part Number 36160-ZA1-811
Description VALVE ASSY., CONTROL (NOT AVAILABLE)
Serial Range 1000001 - 9999999
Ref No 4
Part Number 36162-899-000
Description PROTECTOR, TUBE (9X390) (NOT AVAILABLE)
Serial Range 1000001 - 9999999
Ref No 5
Part Number 36163-899-000
Description PROTECTOR, TUBE (9X130) (NOT AVAILABLE)
Serial Range 1000001 - 9999999
Ref No 6
Part Number 38776-671-000
Description CAP, AIR FILTER (NOT AVAILABLE)
Serial Range 1000001 - 9999999
Ref No 7
Part Number 50310-ZA1-830
Description FRAME (LOWER)
Serial Range 1000001 - 9999999
Ref No 8
Part Number 50350-ZA1-811
Description FRAME (UPPER) (NOT AVAILABLE)
Serial Range 1000001 - 9999999
Ref No 9
Part Number 50361-899-000
Description STAY, BUMP STOP
Serial Range 1000001 - 9999999
Qty
Price $29.96
Add To Cart
Ref No 10
Part Number 68325-899-000
Description RUBBER (LOWER)
Serial Range 1000001 - 9999999
Qty
Price $52.80
Add To Cart
Ref No 11
Part Number 90002-892-000
Description BOLT, FLANGE (5X10)
Serial Range 1000001 - 9999999
Qty
Price $1.72
Add To Cart
Ref No 12
Part Number 90015-898-000
Description BOLT, FLANGE (8X20)
Serial Range 1000001 - 9999999
Qty
Price $2.78
Add To Cart
Ref No 13
Part Number 90501-898-000
Description WASHER, FRAME JOINT
Serial Range 1000001 - 9999999
Qty
Price $2.84
Add To Cart
Ref No 14
Part Number 94050-08000
Description NUT, FLANGE (8MM)
Serial Range 1000001 - 9999999
Ref No 15
Part Number 94050-10000
Description NUT, FLANGE (10MM)
Serial Range 1000001 - 9999999
Ref No 16
Part Number 95002-02070
Description CLIP, TUBE (B7)
Serial Range 1000001 - 9999999
Qty
Price $2.20
Add To Cart
Ref No 17
Part Number 95002-40800-08
Description CLAMP, TUBE (D8)
Serial Range 1000001 - 9999999
Qty
Price $2.74
Add To Cart
Ref No 18
Part Number 95005-35001-20M
Description BULK HOSE, VACUUM (3.5X1000) (3.5X140)
Serial Range 1000001 - 9999999
Qty
Price $13.66
Add To Cart
Ref No 18
Part Number 95005-35001-20M
Description BULK HOSE, VACUUM (3.5X1000) (3.5X400)
Serial Range 1000001 - 9999999
Qty
Price $13.66
Add To Cart
Ref No 19
Part Number 95005-35001-20M
Description BULK HOSE, VACUUM (3.5X1000) (3.5X140)
Serial Range 1000001 - 9999999
Qty
Price $13.66
Add To Cart
Ref No 19
Part Number 95005-35001-20M
Description BULK HOSE, VACUUM (3.5X1000) (3.5X400)
Serial Range 1000001 - 9999999
Qty
Price $13.66
Add To Cart
Ref No 20
Part Number 95701-06010-00
Description BOLT, FLANGE (6X10)
Serial Range 1000001 - 9999999
Qty
Price $1.54
Add To Cart
Ref No 21
Part Number 95701-06012-00
Description BOLT, FLANGE (6X12)
Serial Range 1000001 - 9999999
Qty
Price $1.98
Add To Cart